Up carpcgalleryfiles » installs » v5 » The Screen Prev Next Slideshow

 Previous image  Next image  Index page
doubledinscreenbuild29
doubledinscreenbuild30
doubledinscreenbuild31
doubledinscreenbuild32
doubledinscreenbuild33
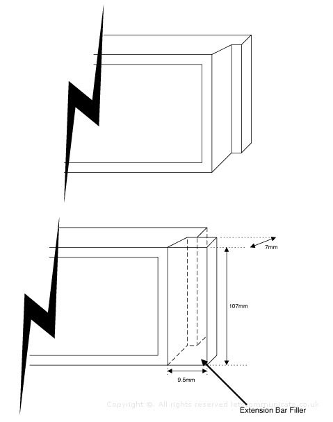
  wrxvr5.jpg - Before I got the screen fully installed I needed to fill the gaps that would be left. Glitch on the Digital-car.co.uk forum made the above matching aluminum bars which I fitted to the WRX case using double sided tape. I did this as the tape was very thin and would leave less mess than super glue  
screencompletedandfitted1
doubledinscreenbuild34
 
 
 

Before I got the screen fully installed I needed to fill the gaps that would be left. Glitch on the Digital-car.co.uk forum made the above matching aluminum bars which I fitted to the WRX case using double sided tape. I did this as the tape was very thin and would leave less mess than super glue
<-/-> Previous image / Next image | Backspace Index page | Home First Image | End Last Image | Space Start/Stop slideshow
Total images: 37 | The Vauxhall Vectra CarPC Project Home | http://www.letscommunicate.co.uk/